Luer Lock Connector Definition

Luer Lock Connector Dimensions

Luer Lock Connector Dimensions

Luer Lock At Thomas Scientific

Luer Lock At Thomas Scientific

Iso 80369 Luer Lock Luer Taper Fittings Admet

Iso 80369 Luer Lock Luer Taper Fittings Admet

Good Quality Medical Male Female Luer Lock Connector For Wholesale Buy Luer Lock Connector Male Luer Lock Connector Female Luer Lock Connector Product On Alibaba Com

Good Quality Medical Male Female Luer Lock Connector For Wholesale Buy Luer Lock Connector Male Luer Lock Connector Female Luer Lock Connector Product On Alibaba Com

What Is Iso 80369 6 2016 American Society Of Regional Anesthesia And Pain Medicine

What Is Iso 80369 6 2016 American Society Of Regional Anesthesia And Pain Medicine

Http Www Equashield Com Wp Content Uploads 2015 12 021 Equashield Closed System Transfer Device Cstd Pdf

Http Www Equashield Com Wp Content Uploads 2015 12 021 Equashield Closed System Transfer Device Cstd Pdf

Http Www Equashield Com Wp Content Uploads 2015 12 021 Equashield Closed System Transfer Device Cstd Pdf

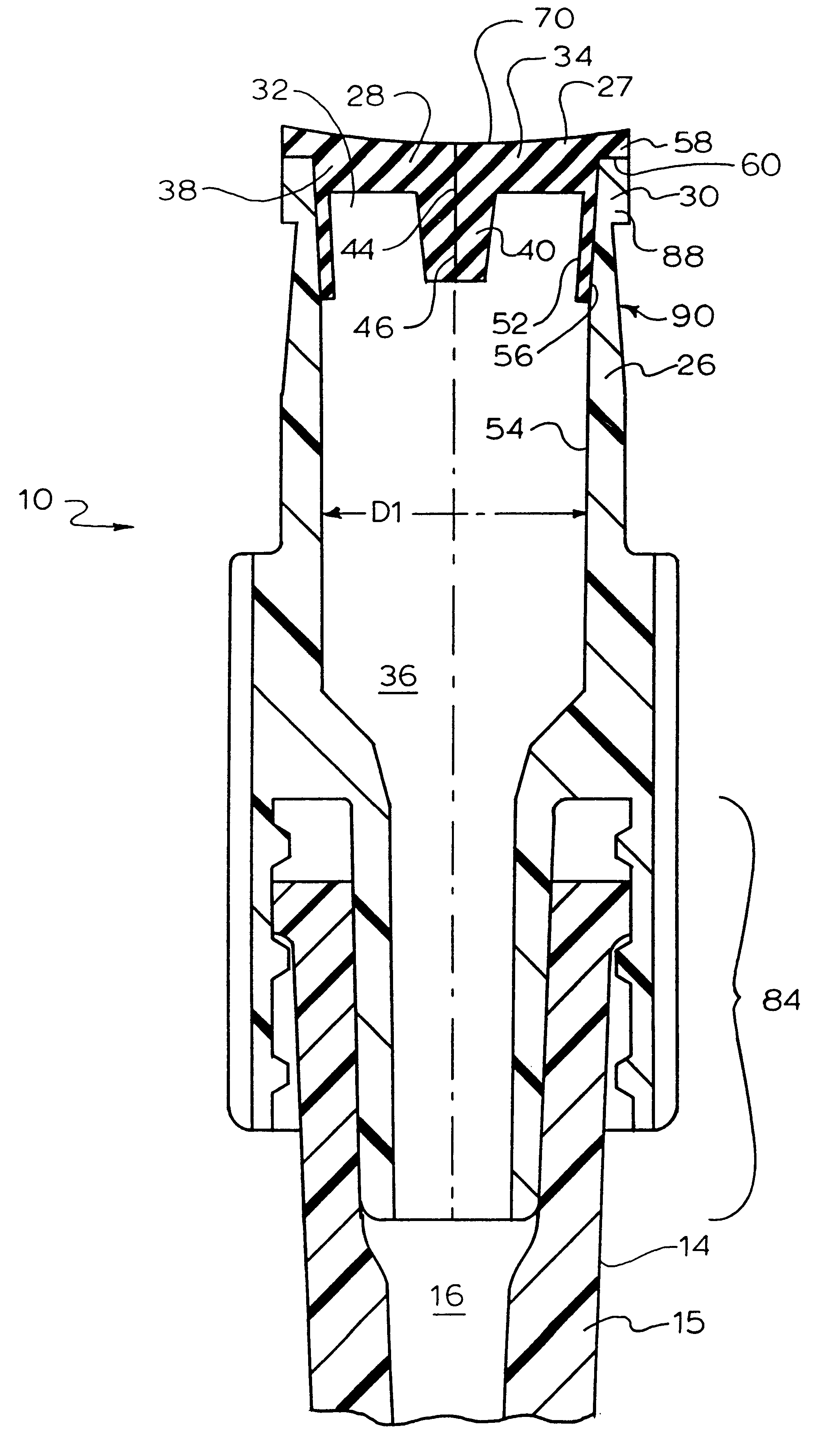
This fitting is standardized with all medical supply companies producing designs to the same specification.

Luer lock connector definition. This is usually not recommended for industrial dispensing because it is not secure under pressure. In the somewhat luddite diagram to the right on the right is the female half of a luer connector which can fit onto both a luer slip or luer lock male connector. Luer lock style connectors are divided into two types one piece luer lock and two piece luer lock or rotating collar luer lock. Standardization permits the.

Luer connections can either be just that luer slip or can have an additional outer rim of threading a luer lock allowing them to be far more secure. Luer slip fittings are simply held together by a friction fit. A luer lock is a screw connection on a syringe that creates a leak free seal. Male luer lock connectors are available with integral lock rings or with rotatable features to allow you to position the tubing before assembly.

Luer lock connectors female are joined by means of a tabbed hub on the female fitting that screws into threads in a sleeve on the male fitting and attaches securely. A male connector 1 is provided with a luer part 10 connected to the upstream end of a tube 8 used in an enteral nutrition therapy and a lock part 20 removably attached to the luer part. Luer lock fittings are more securely held because the hub of the female fitting i e. One piece luer lock comes as a single mold and locking is achieved by rotating the entire luer connector or system.

1 16 1 4 Plastic Male Or Female Luer Lock Connector Barb Adapter Luer Fitting Ebay

1 16 1 4 Plastic Male Or Female Luer Lock Connector Barb Adapter Luer Fitting Ebay

Luer Adapters Quick Connect Luer Adapter

Luer Adapters Quick Connect Luer Adapter

Iso 80369 Small Bore Connector Standard Merit Oem

Iso 80369 Small Bore Connector Standard Merit Oem

Luer To Barbed Adapters Barbed Connectors Peristaltic Tube Connectors Connectors Fluidic Connections Fluidics

Luer To Barbed Adapters Barbed Connectors Peristaltic Tube Connectors Connectors Fluidic Connections Fluidics

Iso 594 Luer Testing Medical Murray

Iso 594 Luer Testing Medical Murray

Luer Lock Needles Luer Loc Laboratory Hamilton Company

Luer Lock Needles Luer Loc Laboratory Hamilton Company

Http Stayconnected Org Wp Content Uploads 2019 03 Gedsa White Paper 2019 1 Pdf

Http Stayconnected Org Wp Content Uploads 2019 03 Gedsa White Paper 2019 1 Pdf

System Components

System Components

Qosina Launches Interactive 3d Cad Model Catalog Medical Product Outsourcing

Qosina Launches Interactive 3d Cad Model Catalog Medical Product Outsourcing

Connectors Bungs And Caps T Connector With Bionector

Connectors Bungs And Caps T Connector With Bionector

100pcs High Clear Pp Male Female Luer Lock Connector Medical Grade Non Disposal Ebay

100pcs High Clear Pp Male Female Luer Lock Connector Medical Grade Non Disposal Ebay

100 Luer Lock Connector Polyprop Luer Lock Syringe Fitting Ebay

100 Luer Lock Connector Polyprop Luer Lock Syringe Fitting Ebay

5 Facts About Syringes You Wish You Knew Before Hpfy

5 Facts About Syringes You Wish You Knew Before Hpfy

Difference Between Luer Slip And Luer Lock Syringe Raymed

Difference Between Luer Slip And Luer Lock Syringe Raymed

10pk Female Male Luer Syringe Fitting Metal Luer Lock Fitting Connector Connector Female Fitting Roomfitting Pants Aliexpress

10pk Female Male Luer Syringe Fitting Metal Luer Lock Fitting Connector Connector Female Fitting Roomfitting Pants Aliexpress

Kel F Hub Needles Laboratory Hamilton Company

Kel F Hub Needles Laboratory Hamilton Company

Adapter Pp Female Luer Lock To Three Way Valve Kynar Pvdf Body And Pp Insert From Cole Parmer

Adapter Pp Female Luer Lock To Three Way Valve Kynar Pvdf Body And Pp Insert From Cole Parmer

Luer Taper And Lock Test Equipment Per Iso 80369 And Iso 594 Testresources

Luer Taper And Lock Test Equipment Per Iso 80369 And Iso 594 Testresources

Https Encrypted Tbn0 Gstatic Com Images Q Tbn 3aand9gcs0ja2nsrsfcsdx8blv8barspr5st8y27utmhnaso8woumkwodn Usqp Cau

Https Encrypted Tbn0 Gstatic Com Images Q Tbn 3aand9gcs0ja2nsrsfcsdx8blv8barspr5st8y27utmhnaso8woumkwodn Usqp Cau

Qosina One Stop Source For The Largest Selection Of Open Bore Syringes Medical Product Outsourcing

Qosina One Stop Source For The Largest Selection Of Open Bore Syringes Medical Product Outsourcing

Drug Administration Using A Luer Lock Syringe Cstd Youtube

Drug Administration Using A Luer Lock Syringe Cstd Youtube

Luer Fittings Nordson Medical

Luer Fittings Nordson Medical

B Braun Medical Dp3500l Non Vented Dispensing Pin With Safesite Valve And Luer Lock Connector Needle Free Braun Medical Braun Valve

B Braun Medical Dp3500l Non Vented Dispensing Pin With Safesite Valve And Luer Lock Connector Needle Free Braun Medical Braun Valve

Baxa Baxter 13901 Rapidfill Connectors Luer Lock To Leur Lock Pack Of 5 Ebay

Baxa Baxter 13901 Rapidfill Connectors Luer Lock To Leur Lock Pack Of 5 Ebay

Vented Needle Luer Lock Connector Sterile

Vented Needle Luer Lock Connector Sterile

Luer To Catheter Tip Adapter Female Luer Lock Connector Male Catheter Or Urethra Tip Baxter H93813601

Luer To Catheter Tip Adapter Female Luer Lock Connector Male Catheter Or Urethra Tip Baxter H93813601

Vygon Usa Ams240 Subcutaneous Infusion Set With Ultra Microbore Tubing 27g Needle Female Luer Lock Settings Infused Iv Therapy

Vygon Usa Ams240 Subcutaneous Infusion Set With Ultra Microbore Tubing 27g Needle Female Luer Lock Settings Infused Iv Therapy

Analytics For Us Patent No 6344033 Needleless Connector

Analytics For Us Patent No 6344033 Needleless Connector

Luer Testing Solutions For Iso 594

Luer Testing Solutions For Iso 594

Torque To Turn Capability Statements Test Group Capability Statements

Torque To Turn Capability Statements Test Group Capability Statements

Female Luer Lock Adapters

Female Luer Lock Adapters

Qosina Adds Closed Male Luer Lock Valves Medical Product Outsourcing

Qosina Adds Closed Male Luer Lock Valves Medical Product Outsourcing

Seven Key Application Areas For Force And Torque Testing Of Needles And Syringes

Seven Key Application Areas For Force And Torque Testing Of Needles And Syringes

Tandem Cannulae And Upgrades

Tandem Cannulae And Upgrades

X3pwe2gfk Trmm

X3pwe2gfk Trmm

Time To Source Smarter Electronic Products Metal Stuff To Buy

Time To Source Smarter Electronic Products Metal Stuff To Buy

Connector C45 Bd Phaseal Sterile

Connector C45 Bd Phaseal Sterile

Purified Fat Transfer From 10 Ml Luer Lock Syringe To A 1 Ml Luer Download Scientific Diagram

Purified Fat Transfer From 10 Ml Luer Lock Syringe To A 1 Ml Luer Download Scientific Diagram

Microfluidics How To Choose The Good Fittings Connectors Darwin Microfluidics

Microfluidics How To Choose The Good Fittings Connectors Darwin Microfluidics

Syringe Terminations Syringe Definitions Terminology Hamilton Company

Syringe Terminations Syringe Definitions Terminology Hamilton Company

Karl Storz 33300 Insulated Metal Outer Tube With Luer Lock Connector 5 Mm X 36cm Ebay

Karl Storz 33300 Insulated Metal Outer Tube With Luer Lock Connector 5 Mm X 36cm Ebay

Needles Syringe Needles Lab Needles Hamilton

Needles Syringe Needles Lab Needles Hamilton

1 Foley Catheter 2 Y Connector 3 Conical Connector With Luerlock Download Scientific Diagram

1 Foley Catheter 2 Y Connector 3 Conical Connector With Luerlock Download Scientific Diagram

Https Encrypted Tbn0 Gstatic Com Images Q Tbn 3aand9gctc3ozvtlpzx0dwxpfiro1dugftwm4jg83dqt2q0h0 Usqp Cau

Https Encrypted Tbn0 Gstatic Com Images Q Tbn 3aand9gctc3ozvtlpzx0dwxpfiro1dugftwm4jg83dqt2q0h0 Usqp Cau

Source : pinterest.com